清华同衡风景旅游研究中心

RESEARCH CENTER FOR TOURISM AND SCENERY

返回清华同衡官网首页
  • 首页

  • 中心概况

    • 中心简介
    • 中心业务所
    • 获奖信息
  • 新闻中心

  • 项目展示

  • 科研成果

  • 联系我们

more

学术动态Academic Trends

  • 王彬汕 贾倩 | 加强智慧旅游创新应用 推动旅...
  • 邬东璠 王克敏 | 度假区要树立“资源与环境并...
  • 邬东璠 王晨雨 | 旅游度假区要树立“核心度假...
  • 旅游度假区高质量发展论坛成功举办
  • 北京什刹海商业化程度和游客行为大数据分析
more
我院快讯Institute Express
  • 清华同衡风景旅游研究中心成立

  • 风景旅游研究中心风景旅游一所正式成立

  • 清华同衡旅游所开展《广西旅游业发展“...

  • 《阿鲁科尔沁旗旅游发展规划总体规划》...

1234
  • 清华同衡王彬汕主任入选中国旅游景区协会专家委员...
  • 王彬汕主任接受《中国旅游报》采访,解读度假区新...
  • 清华同衡海南国际旅游岛先行试验区概念规划喜获国...
  • 王彬汕所长:不能只局限于旅游来思考“丝绸之路”...
  • 潘运伟丨A study on threat factors of World Her...
推荐项目Project
  • 浙江舟山市“十里莲花大道”活力业态规...

    《“十四五”海洋经济发展规划》提出“走依海富国、以海强国、人海和谐、合作共赢的发展道路,加快建设中国...

  • 山西祁县旅游总体发展规划

    在法开署和法国In Extenso公司的主导下,结合祁县政府意见,对祁县的区位、发展机遇、文化特色、...

  • 莫干山·2019年德清县民宿产业大数据...

    通过对网络游记、在线旅行代理商点评数据、手机信令数据及电子地图数据等互联网大数据的收集整理与分析,研...

  • 浙江舟山市东极岛战略发展规划

    规划提出打造“日出东方”国家地理新地标、构造文艺浪漫海岛极致体验新高地、塑造长三角高品质海岛休闲新典...

您现在的位置:首页 / 项目案例 / 正文
北京市通州区 | 通州老工业厂区更新政策系列研究
2025年02月12日    清华同衡详细规划与实施分院

所属分类: 详细规划与城市设计 规划研究与政策咨询

项目地点:北京市

设计单位:详细规划设计分院城市设计所、详细规划实施分院城市更新所

项目负责人: 杨丹丹 张喆 李晓楠 曹力维

完成时间:2018年

图片展示
项目简介

u项目简述

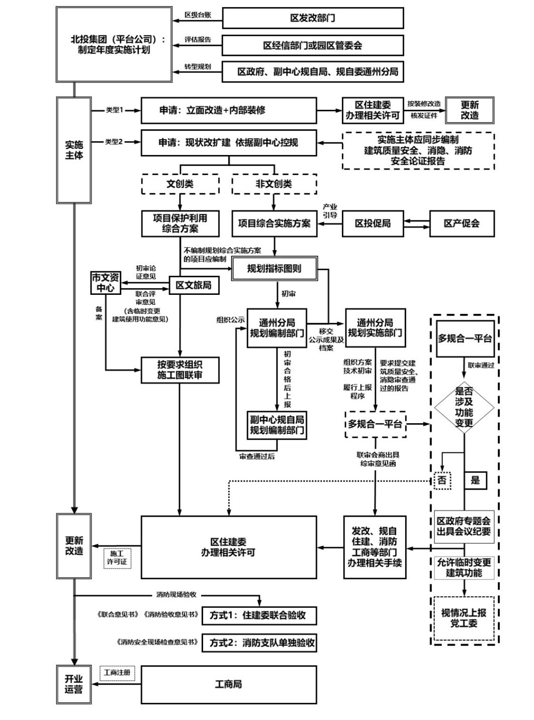
贯彻落实北京总规、副中心街区控规的相关要求,课题以问题为导向,聚焦存量工业用地及老厂房的更新改造开展研究,解读相关政策,总结成功案例经验,务实推动老旧厂房的更新改造利用。


u创新亮点

精准回应现阶段发展过程中副中心存量工业更新的问题与困境,提出“鼓励产权人自主更新或参与更新;加强产业引导制定用地功能集合;存量用地更新注重公益用地贡献;重点地区加强风貌引导”等更新实施策略。


u项目成效

多年来持续开展的更新政策机制研究工作,为副中心制定并发布相关更新政策提供了重要支撑。通过政策机制创新,务实推动了张家湾小镇相关工业地块更新改造工作。

关于我们 | 组织结构 | 人才招聘 | 联系我们

地址:北京市海淀区清河中街清河嘉园东区甲1号楼16-25层 邮编:100085 电话:010-82819000 备案序号:京ICP备 05030709号-1

顶部

微博

微信